Leaked Patents Honda Supercharged V Twin Engine With Direct Injection Feature Image
Leaked Patents Honda Supercharged V Twin Engine With Direct Injection Feature Image

Leaked Patents Reveal Honda’s Supercharged V-Twin Engine With Direct Injection

Kawasaki, as you must’ve already read, will soon add a supercharged sports tourer to its portfolio. But it seems they’re soon going to be facing some competition. Newly leaked patents have revealed a new V-Twin engine from Honda’s stables that will feature a supercharger. Moreover, the motor will also benefit from a Direct Injection technology that will spraying fuel directly into the cylinder. The latest leaks were brought to fore by the folks at Motorcycle.com who got their hands on the patent applications published by the U.S. Patent & Trademark Office.

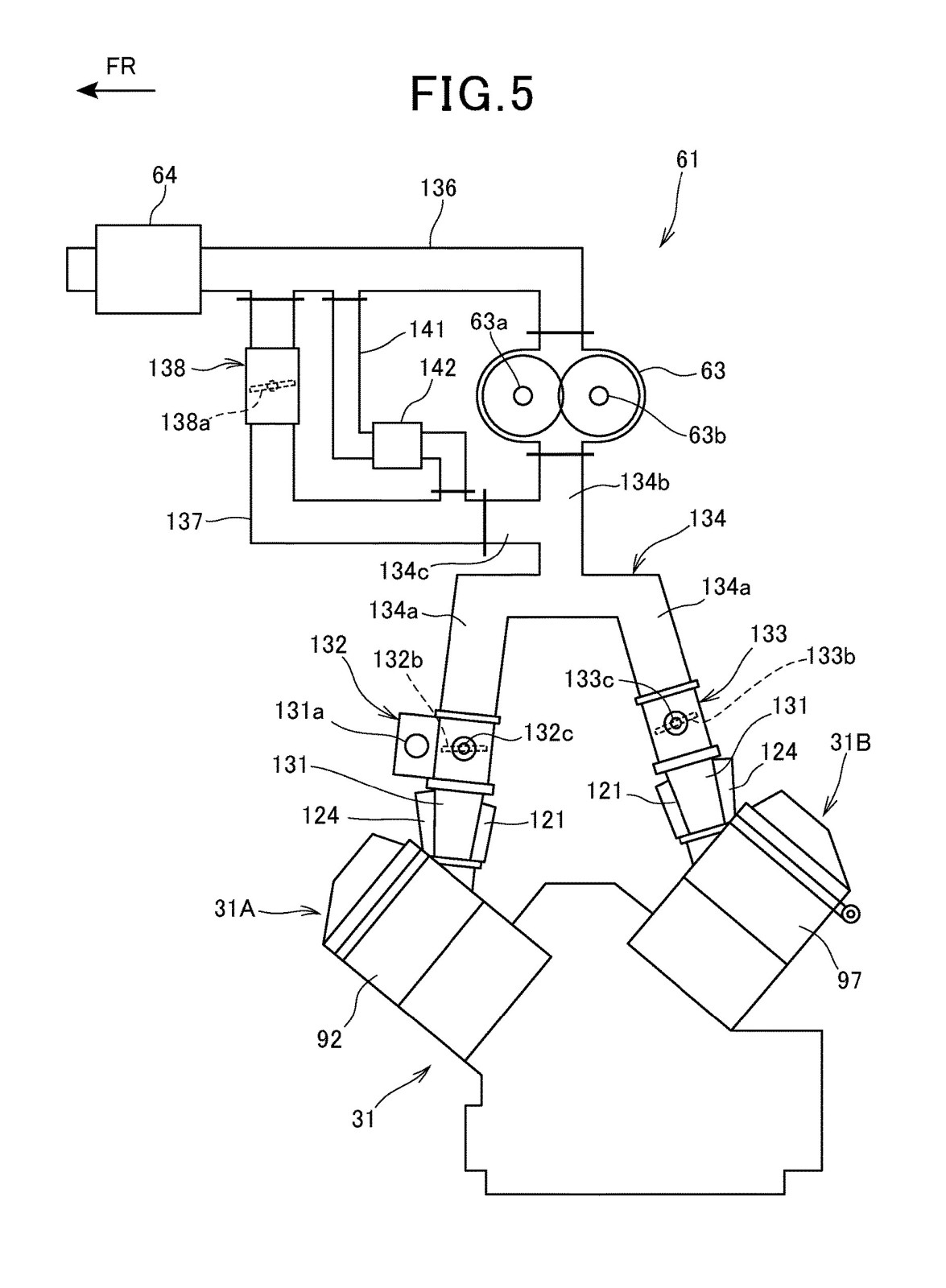
The patents reveal the positioning of the supercharger, and engine mounts to the chassis of the upcoming motorcycle. The patents also reveal that the engine will feature a 90-degree setup and a single overhead camshaft.

Apart from the technical bits, the leaked patents also bring out some details about the motorcycle. The upcoming motorcycle, as seen in the images, will be built around a trellis frame, and will feature a rising subframe. The riding stance, as suggested in the patents, will not be too committed as the motorcycle will feature raised handlebar. However, the slightly rear-set footrests will add a pinch of sportiness to the rider’s triangle. The new supercharged engine may power more than one product from Honda’s portfolio although it’ll be too early to comment on that front.

So is this the Honda Neo Sports Cafe Project that is heading to this years EICMA motorcycle show? The outline of the teased product and the motorcycle in the leaked patents do have some similarities (Click on the image below to expand and analyse). So it will not be completely incorrect to assume that the Neo Sports Cafe Project will feature the new V-Twin supercharged engine. The Neo Sports Cafe Project, as aforementioned, will be unveiled at the 2017 EICMA motorcycle show in November, which is around the same time when Kawasaki will introduce its new Supercharged Sports Tourer.

Similarities between the leaked patents and Honda Neo Sports Cafe Project. (Click to expand)

We’d bring you all the updates from the motoring event. Meanwhile, let us know your views about the upcoming supercharged Honda V-Twin through the comments section.

Via Motorcycle.com


Scroll to Top